Product Summary
The EVF31H-050 is a power transistor module. Applications of the EVF31H-050 are: (1)DC motor controls; (2)Uninterruptible power supply.
Parametrics
EVF31H-050 absolute maximum ratings: (1)VCBO: 600V; (2)VCEO: 600V; (3)VCEO: 450V; (4)VEBO: 6V; (5)Tj: 150℃; (6)Tstg: -40 to 150℃; (7)m: 180g; (8)Viso: 1500V.
Features
EVF31H-050 features: (1)Including free wheeling diode; (2)High DC current gain; (3)Insulated type.
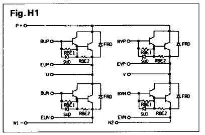
Diagrams

(China (Mainland))






